Blue Wave T-øje til 4mm tov.
Smedet øje i AISI 316 stål til fæste af tovværksrig på mast.
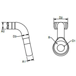
Mål (se definition på tegning):
A1: 6,5 mm
A2: 7,5 mm
D1: 9,6 mm
D2: 18 mm
D3: 7,5 mm
R: 3,25 mm
Kommentarer 0
Kunder der har købt dette produkt har også købt
Antal solide lavfriktionsringe Ø30-50mm
AntalSWL: 1800-6500 kg Ø30-50mm
Pris fra 249,00 DKK
(inkl. moms)
